EPPD防雷器EPPD20-110
阅读次数:1067 发布时间:2020-10-16

EPPD防雷器EPPD20-110优势体现
EPPD20-110避雷器采用过流、过冷保护设计,防止产品变质可能引起的火灾危险性,保护优先设计,最小限度地降低灯具的故障率,延长灯具的稳定性和寿命,降低维修成本,减少经济损失。EPPD20-110产品可配置远程报警功能,远程监控产品的工作状态。
过电压保护器在具体应用中的要求
一是加强施工现场管理
重点建设场景和井等环节,管道、铁塔、架空光缆、抗震加固、防雷接地。
二是对通信防雷装置EPPD20-110进行自检和抽查
公司应选用具有质量认证的通信防雷产品(SPD等)EPPD20-110,按照规定,对各通信局(站)使用的防雷系统进行彻底自检,并委托专业通信防雷装置检测机构按比例进行抽查和测试。对检查之中发现的隐患和问题,要立即整改。暂时不能进行整改的,应当提出整改方案并组织实施。
三是严格执行通信防雷系统检测技术标准
防雷装置EPPD20-110检测机构应执行通信局(站)在用防雷系统的技术要求和测试方法T)1429-2006)、《通信局(站)防雷系统点检检测实施细则》(信科函[2007]47号)等通信防雷相关技术标准和管理政策。
第四,标准通信防雷装置检测服务行为
防雷装置检测机构要自信规范检测行为,确保EPPD20-110检测质量,维护通信防雷装置检测市场秩序。如不按标准进行检测,特别是发现有误的,一经发现应立即报告。
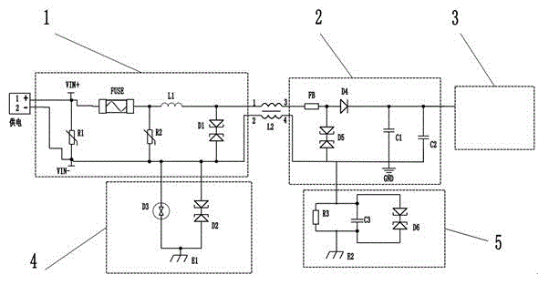
浪涌保护装置线路图

EPPD防雷器EPPD20-110
公司秉承“技术保证质量,信誉保证发展”的经营理念,EPPD20-110系列浪涌产品严格标准、军工品质,竭诚为客户提供优质、高效、专业的产品和服务,想了解更多EPPD20-110浪涌产品信息请联系本公司。
上一篇:ARD-40/4P防雷系统




