模块浪涌GPU1-C60/460保护器
阅读次数:1089 发布时间:2020-10-19

GPU1-C60/460、GPU1-C40/460、GPU1-C20/460、GPU1-C80/460、GPU1-C100/460
GPU1-实验模拟情况
GPU1-C60/460产品标准主要是模拟间接雷击引起的各种情况:
(1)雷击外线时,大量电流流入外线或接地电阻,产生干扰电压。
(2) 间接雷击(如云层间或云内的雷击)会在内部线路之上产生电压和电流。
(3) 当雷击到线路邻近的物体时,其四周会产生一个强电磁场,并在内部线路之上感应电压。
(4) 雷击邻地和地电流通过共用接地系统时产生的干扰。
不同型号浪涌保护器的区别
尺寸不同
GPU1-C60/460浪涌保护器(SPD)的主要材料根据iec61312的防浪涌等级和分级保护有所不同而有所不同,其设计比一般避雷器准确得余。
综合性能不同
型号规格低的浪涌在响应时间、限压效果、综合保护效果、抗老化性能等方面都达不到浪涌保护器GPU1-C60/460的水平。
放电电流有所不同
有的SPD的放电电流为1.5kV、2.5kV、5kV、10kV和20kV。额定雷电电流为820us;GPU1-C60/460电涌保护器的额定放电电流为5ka、10kA、0.5ka、20KA、30、20、120kv。
试验标准和应用要求有所不同
GPU1-C60/460浪涌保护器(SPD)由于与低压连接,可采用大尺寸。例如,从外观和体积之上看,GPU1-C60/460浪涌防护器(SPD)由硅少量胶水、环氧涂层、塑料外壳、金属陶瓷、金属塑料制成。GPU1-C60/460浪涌保护器主要用于低压配电、机柜、低压电器、通信、信号、车站、机房。
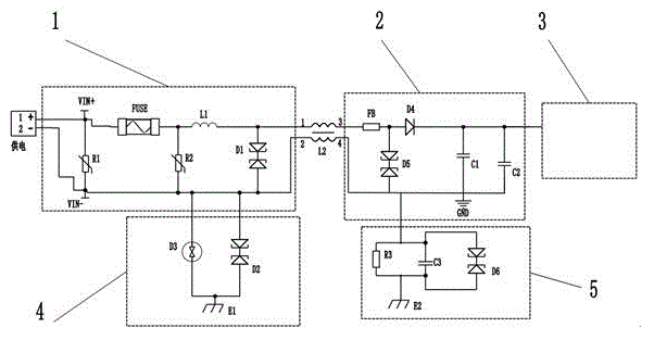
GPU1-系列浪涌安装线路图

模块浪涌GPU1-C60/460保护器型号齐全,质量保障;
GPU1-C60/460优良品质,值得信赖;
欢迎来电洽谈合作GPU1-C60/460系列产品!




