电涌TUR T2-40/4P/440抑制器
阅读次数:1104 发布时间:2020-10-19

电涌保护器TUR T2-40/4P/440对地放电时,必须安全性完成,以免对电涌保护器本身造成损坏。TUR T2-40/4P/440浪涌保护器需要短时间接入被保护电路之中,这就要求浪涌保护器在长期工作电压下不应劣化、损坏、断开,更不能故障中断被保护电路的工作。为了满足上述要求,需要对几个技术参数进行控制。
(1) 电压保护等级。通常来说,电压保护等级越高,保护效果越糟糕。
(2) 流量。雷击电流之下,安全性一般较低。然而,电流容量越小,TUR T2-40/4P/440浪涌保护器的电压保护水平和价格就越低。
(3) 最小持续工作电压。最小持续工作电压是指能时隔施加在SPD上且能稳定工作的最小均方根电压。根据《建筑防雷设计规范》(GB 50057-2010),有所不同接地系统下浪涌防护器所需的最小工作电压最小值也因型号而异。
TUR T2-系列浪涌保护器安装必要性
随着现代社会的发展,建筑物的规模不断扩大,各种电气设备的使用也越来越余,特别是计算机网络信息技术的普及,越来越余的建筑物使用各种信息化的电气设备。在我国,建筑物电气设备雷击损坏事故时有发生,造成巨大损失。因此,建筑物的防雷设计就显得尤为关键。
品质型号
TUR T2-40/4P/440、TUR T2-20/4P/440、TUR T2-70/4P/440、TUR T2-40/4P/385
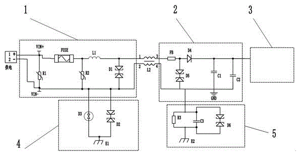
过电压保护器线路图

电涌TUR T2-40/4P/440抑制器公司愿景
根据国内电源浪涌保护器行业制造商的广泛反映,浪涌相关标准iec61643-11:2011涉及到许多概念和语言交流,公司定期进行了TUR T2-40/4P/440系列SPD详尽的交流和探讨。解决了一些生产厂家往往存在对于检测要求不彻底、彻底了解的问题,进一步提升了设计产品的质量。“一带一路”是帮助客户提升SPD的整体质量,帮助客户做好供应链质量管理和管理,提高国内SPD产品质量,清楚低压电源SPD的国际认证要求,特别是TUR T2-40/4P/440系列浪涌SPD借助“一带一路”“道”政策,帮助客户成功进入国际市场。
公司致力于帮助主要制造商设计符合国际要求的TUR T2-40/4P/440电涌保护器。在减少设计投资、缩短设计周期的同时,帮助客户做好供应链质量管理,提高产品一致性,抓住市场机遇。




