浪涌EPP20S保安装置
阅读次数:964 发布时间:2020-10-20

浪涌EPP20S保安装置最新调研展示
公司研究防雷技术已持续十年,2020年对防雷企业来说既是机遇也是挑战。随着防雷体制改革、市场的全面放开、各种减轻企业负担的政策措施的落实,以及防雷资质的取消,多数防雷企业感到困惑。在这种新的行业形势之下,公司特就应如何应对,如何健康发展,开拓市场空间,电磁防护和雷电防护研究与应用之中的关键问题是什么,如何“转型升级”,未来趋势如何等行业热点进行深入调研和交流。
近期在EPP20S浪涌试验的基础之上,增加了多脉冲试验。EPP20S测试技术更接近于模拟线路传输之中自然雷电物理特性对SPD浪涌环境的影响。在针对不同应用领域的防雷产品开发之中,为理解和防御雷电提供了一个新的高水平研究平台,可为上亿颗电涌防护器在线运行的整改提供技术支持,也将推动EPP20S系列浪涌防护器的技术升级研发和生产。
雷击对生活的影响
9月份,高邮市某村发生突发事件。一个村庄近20户人家受雷击影响,造成大量家用电器损坏。一户人家的屋顶被推倒,发生了火灾。据雷击灾害发生之后,当地居民家中电器几乎全部被雷击瘫痪。家里停电之后,村民们只好在黑暗之中生活。据初步统计,雷击近20户家庭,造成经济损失。
因此,公司温馨提醒:自然界的雷电不会消失,人类对EPP20S系列浪涌保护器技术进步的向往和冲动不能终止,技术进步带来的潜在威胁只能通过技术的不断进步来解决,换季时雷电较多,广大市民一定要做好安装EPP20S防雷措施,防止类似事件发生。
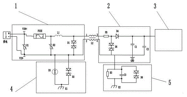
EPP20S浪涌线路图

浪涌EPP20S保安装置型号如下
EPP30S、EPP40S、EPP50S、EPP65S、EPP80S、EPP100S




