SPD浪涌ARD-20/4P
阅读次数:1159 发布时间:2020-10-20

SPD浪涌ARD-20/4P防雷等级
一级防雷
对于制造、使用、储存爆炸物及其制品的危险建筑,电火花引起的爆炸、爆炸,将造成重大损失和人员伤亡。
二级防雷
国家建筑、国家重点文物建筑、大型火车站、机场、大城市重要供水泵站。
预计省部级办公楼、其他重要或人口密集的公共建筑和火灾危险场所的雷击次数为0.05次A超过。
预计居民楼、办公楼等一般民用建筑或一般工业建筑的雷击次数为0.25次A超过。
三级防雷
1.省重点文物保护单位和省档案馆保护建筑。
2.预计雷击次数大于或等于0.01次A,小于或等于0.05次A,以及其他重要或人口密集的公共建筑,以及火灾危险区域。
3.一般民用建筑或一般工业建筑预计雷击次数大于或等于0.05次A,小于或等于0.25次A。
4.平均雷暴日大于15dA的地区,烟囱、水塔等高度在15m及超过的孤立高层建筑;在平均雷暴日数小于或等于15dA的地区,烟囱、水塔等高度在20m及超过的孤立高层建筑。
雷电带来的负面危害
雷电引起的暂态冲击过电压的破坏主要是由大气之中的雷电引起的,也可由大功率电气设备的切换引起。
雷电放电的能量、过电压幅值和波形陡度大,持续时间很短,往往会导致设备绝缘损坏、供电中断,甚至发生火灾、触电等事故,尤其是建筑物之内的信息技术设备,是人们关注的焦点预防。
大功率电气设备开关产生的操作过电压的幅值和波形陡度虽然不大,但也会对邻近的敏感设备造成危害和干扰。安装在电气装置之中的浪涌保护器一般能防止过电压。
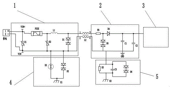
电涌保护装置线路图

公司型号包含
ARD-20/4P、ARD-40/4P、ARD-60/4P、ARD-8/4P、ARD-100/4P、ARD-120/4P
SPD浪涌ARD-20/4P必不可少
随着国际信息潮流的冲击、微电子技术的沸腾以及通信、计算机和自动控制技术的飞速发展,信息已成为家庭的无形财富。为保证信息系统的安全稳定运行,《建筑物防雷设计规范》对ARD-20/4P浪涌保护器的安装提出了相关要求。
ARD-20/4P性能优良,保护性更好
二级浪涌保护器rdu5-b采用自主研发生产的优质压敏电阻和热脱扣器,适用于不同电网系统,性能优良,一步保护。
人性化设计,ARD-20/4P保护更方便
35mm导轨安装,标准模块设计,支持在线热插拔(含nPE火花隙),用户操作方便,保护更方便。
ARD-20/4P人机交互使保护更直观
二级浪涌保护器rdu5-b的最佳显示状态指示窗口和可选的遥控器触点设计,可以直观地了解产品的运行状态,保护更直观。
上一篇:EPPF40浪涌保护装置
下一篇:过电压BNG-80/4P保护器




