MSP65防雷器MSP80
阅读次数:1208 发布时间:2020-10-22

MSP65防雷器MSP80型号推荐
MSP65、MSP80、MSP100、MSP120、MSP160
如何判断防雷器的好坏?
第一种方法是观察MSP65浪涌防护器(SPD)的指示窗。如果指示窗口的颜色是绿色,基本上可以判断它是糟糕的。如果指示窗的颜色为红色,则说明它已被高压损坏,需要更换。第二种方法是用万用表直观测量其电阻值。我们可以把万用表调到欧姆档,档位是rx100。如果此时电阻值显示负值,基本上上说明MSP65浪涌保护器(SPD)不错。后两种是通常直观的测量,第三种是比较专业的检测方法,可以检测余达12项,如外观质量检测、最小时隔运行电压检测、限位电压检测、保护模式检测等。
浪涌保护器接地的重要性
MSP65、MSP80从技术设计到现代防雷工程的建设,接地是首要工程,尤其是现代电子通信系统。接地是分流和释放直击雷和雷电电磁干扰能量的最精确手段之一。感应雷电压可达数千伏、数万伏,有时可达几十万伏。当没有接地装置或接地不当时,电子设备,特别是电子计算机、相机镜头、控制镜头转换角度的电源线等电子设备的耐压较高,其外部电子元件会因雷电冲击而瞬间损坏。接地是电力、电子、无线电工程技术之中保证各种信号传输质量,MSP65、MSP80保护设备和操作人员安全性的措施。同时也为电子工程技术的潜力提供了参考。
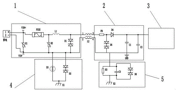
线路图展示

MSP65防雷器MSP80分级保护不可或缺
随着科学技术的不断进步,电子设备的精度不断提高,MSP80防雷不再局限于人身安全、建筑安全等简单的应用环境,而是更深入到各行各业。目前,安全产业承担着国家安全、信息安全和安全工程建设,需要专业的防雷浪涌防护MSP80产品、设计方案和技术储备来支撑安全领域的升级改造。
浪涌防护器(SPD)按保护区域分为三级。一级浪涌保护器可应用于建筑物之内的总配电柜,可对直击雷电流进行放电。建筑物并联配电柜采用二级浪涌保护器,对原避雷器的电压和该区域的感应雷击进行保护。第三级浪涌防护器(SPD)应用于重要设备的后端,是保护LEMP和通过二次防空装置的剩余雷电能量的最终手段。




