SPD浪涌抑制器TUR T2-70
阅读次数:1448 发布时间:2020-10-21

SPD浪涌抑制器TUR T2-70型号如下
TUR T2-40、TUR T2-100、TUR T1-25、TUR T1-50
电涌保护器两边导体的规格是什么?
用于进线保护的SPD,上导体为10mm2,下导体为16mm2;
用于二次和三次保护的SPD,上导体为4mm2,下导体为10mm2
为什么在SPD的上部入口设置断路器?如何选择断路器?
断路器的配置有两个原因:
当通过电器涌流大于其IMAX时,有时电器将被击穿,造成电路短路故障。为了切断短路故障而不影响电路供电,必须安装该TUR T2-70浪涌保护器。
每次雷击都会导致避雷器老化。此外,由于泄漏电流,电涌放电器可能会过热老化,其使用寿命将终止。断路器的热保护系统在避雷器能够承受大量热量以前,将避雷器断开。
TUR T2-70浪涌断路器的每极必须受到保护。例如,1p+n型避雷器必须由2p断路器保护;断路器的分断能力必须大于较大的短路电流。
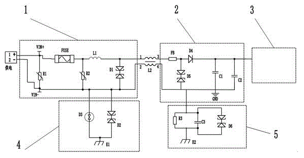
线路参考图

SPD浪涌抑制器TUR T2-70不可或缺
随着全球气候变化的加剧,雷电等自然灾害对我国的危害逐渐加大,每年因雷电等灾害造成的财产损失达数百亿元。随着我国经济的发展,我国防雷技术的市场需求不断扩大,这也越来越受到国内外广大专业人士和相关厂商的关注。防雷技术的应用已经涉及到各个领域,特别是在通信、建筑、消防、计算机网络、信息处理、电力、国防、航空、石化、林业、交通、电气、化工等各个领域。中国政府对此高度重视,投入大量资金进行研发。
雷电灾害造成的经济损失和人员伤亡呈现出多发、范围广、危害严重、社会影响大的特点。雷电灾害已成为继暴雨、洪水、滑坡、滑坡后的第三大气象灾害。雷电对现代社会生活的严重危害引起了社会各界的高度关注。以国家气象局为主管部门的各省市防雷中心高度重视,加强防雷减灾法规的宣传和防雷设施的安装和推广,有效减少雷击造成的设备损失和人员伤亡。TUR T2-70防雷产品的不断改革为中国防雷的发展奠定了强大的物质基础和技术基础。
下一篇:ZGG20-385防雷器




